深圳市九洲光电科技有限公司成立于2010年02月08日,注册地位于深圳市光明区玉塘街道田寮社区同观路十九号路10号九洲工业园厂房1栋101一至二层。法定代表人为李洪。经营范围包括显示屏工程及安装;照明工程的设计与施工;照明应用产品的设计;节能技术开发、技术推广、技术咨询、技术服务;合同能源管理;货物及技术进出口;机械设备租赁;房地产经纪;物业租赁;物业管理。(法律、行政法规禁止的项目除外;法律、行政法规限制的项目须取得许可后方可经营),许可经营项目是:LED显示屏、SMD器件、LED发光二极管、单灯、点阵/数码、LED灯饰、镇流器、电子产品的研发、生产与销售。(法律、行政法规禁止的项目除外;法律、行政法规限制的项目须取得许可后方可经营)。
根据裁判文书网以及天眼查、企查查、爱企查、启信宝等知名企业信息查询平台上,该公司历史上与合作企业发生相关纠纷,各大企业信息查询平台通过互联网爬虫技术,将该诉讼信息爬取显示,具体显示为:
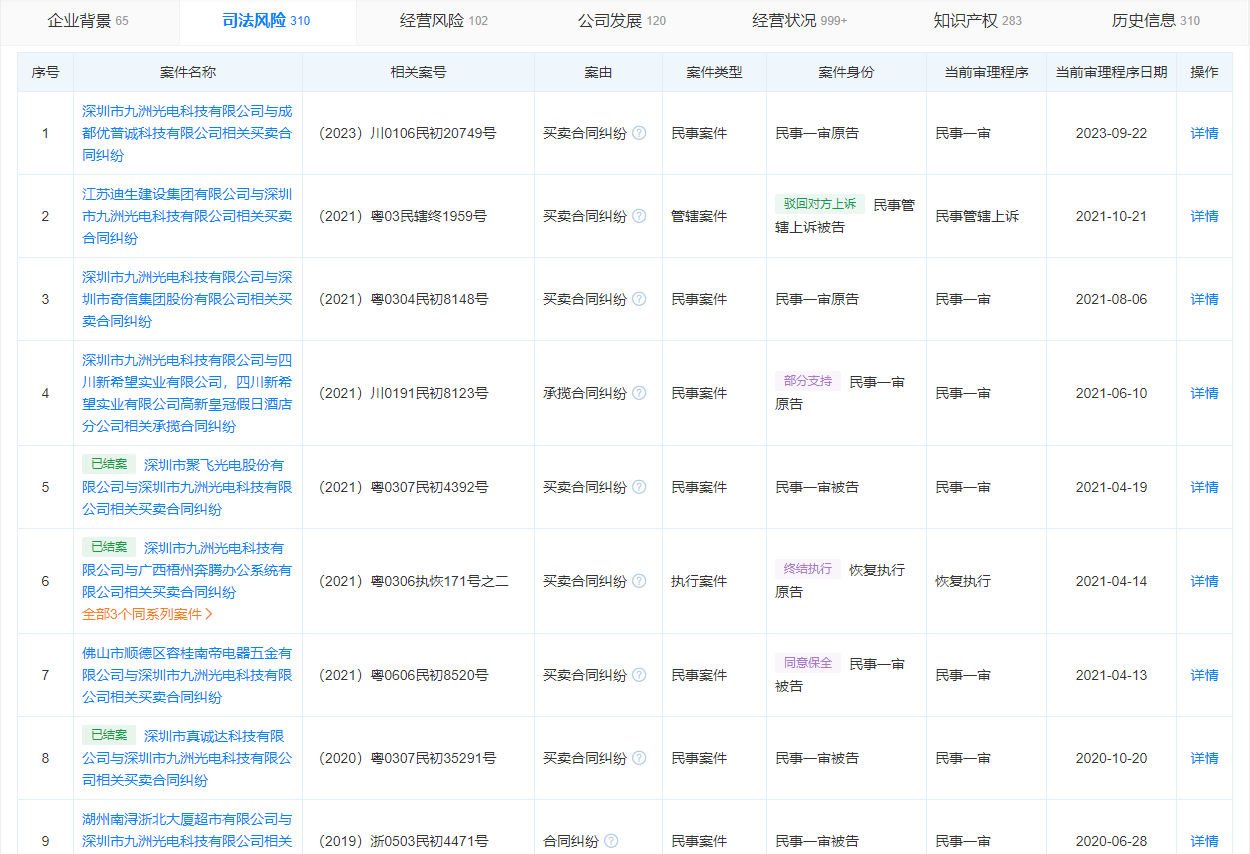
一、在APP“企查查”中,深圳市九洲光电科技有限公司作为诉讼当事人、行政处罚当事人,企业风险信息仍旧有如下公示记录(部分截图):
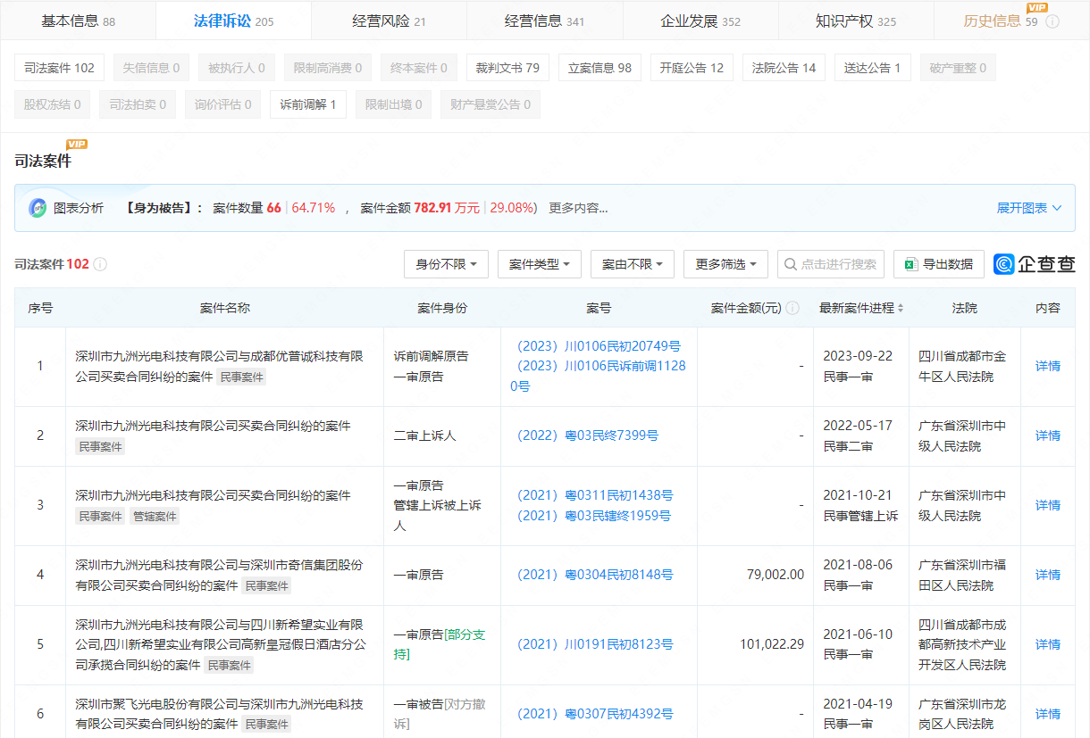
二、在APP”“天眼查”上,深圳市九洲光电科技有限公司作为诉讼当事人、行政处罚当事人,企业风险信息仍旧有如下公示记录(部分截图):
三、在APP“启信宝”中,深圳市九洲光电科技有限公司作为诉讼当事人、行政处罚当事人,企业风险信息仍旧有如下公示记录(部分截图):
目前由于该公司没有进行完全信用修复,上述不良信息记录依旧被第三方平台记录,甚至归属于经营风险。此外,“罚与信”信息平台在进行企业信用调查时,深圳市天合光电有限公司的多数民事案件为原告。对此,“罚与信”平台认为,该公司作为一家正常存续经营的企业,信用问题不大,同时该公司应当尽快进行信用修复,以免被求职者和潜在客户误会历史企业信用问题。
单圈线绕电位器行业市场调研数据分析报告2023年
辰宇信息咨询市场调研公司最近发布-《2023-2029单圈线绕电位器市场调研报告》内容摘要本报告研究“十三五”期间全球及中国市场单圈线绕电位器的供给和需求情况,以及“十四五”期间行业发展预测。重点分析全球主要地区单圈线绕电位器的产能、销量、收入和增长潜力,历史数据2017-2021年,预测数据202...
什么是无刷电机
无刷直流电机由电动机主体和驱动器组成,是一种典型的机电一体化产品。由于无刷直流电动机是以自控式运行的,所以不会像变频调速下重载启动的同步电机那样在转子上另加启动绕组,也不会在负载突变时产生振荡和失步。中小容量的无刷直流电动机的永磁体,现在多采用高磁能级的稀土钕铁硼(Nd-Fe-B)材料。因此,稀土永...
让徐玉玉案不再发生 默安科技发布欺骗防御产品“幻盾”
就在过去的几年之中,网络攻击的动机正在不断扩张,例如敲诈勒索、蓄意破坏、黑客主义思想、数据盗窃和金融诈骗等。究其原因,除了攻击背后各种各样不同的动机之外,很大一部分原因还来自于网络攻击本身的复杂性正在不断地增加。从技术的角度出发,黑客工具包和信息混淆技术在网络犯罪社区是很容易获得的,因为这些往往都很...
特辰科技聘亚太所重新审计2020年财报 新任质量复核人三年内两度被处罚
挖贝网2月23日,新三板创新层企业特辰科技(831242)因为内部控制存在重大缺陷、会计核算存在问题,被深圳证监局要求重新审计2020年财务报告。近日,重新审计工作有了最新的进展。特辰科技表示,公司聘请了亚太(集团)会计师事务所作为审计机构,重新审计2020年财务报告、审计2021年财务报告,收费7...